一個4000億的醫械市場,很多人竟然不知道
中國醫療器械市場規模,各統計口徑數額不一,但沒有哪家給出的數據是超過6000億的。
但另一個“神秘”的醫療器械市場,每年的增長高歌猛進,預計到2020年就達到4000億的規模,直接秒殺醫療設備、耗材、診斷試劑中的每一個單項,只是很多圈中人對此卻知之甚少。
今天,就根據招商證券相關研報,為大家整理了這篇口腔醫療器械市場的概述,供大家參考。
4000億的市場規模
2015年我國的口腔醫療器械市場已達1346億元,據前瞻產業研究院預計,到2020年相關領域產品及服務的市場規模將突破4000億元,復合增長率達到24.34%。
口腔醫療設備和耗材中,增長最快的領域是正畸和植牙。正畸即對牙齒排列不齊,牙齒形態異常進行修整。傳統矯正器是金屬牙箍,但增長最快的是隱形矯正器。第三種就是種植牙,是目前兼具美觀和功能性最好的牙列缺損修復方式之一。

作為一種與天然牙功能、結構以及美觀效果十分相似的修復方式,種植牙自二十世紀八十年代以來迅速發展成熟,目前已成為國際上公認的齒科修復首選。據美國口腔醫學會統計,2017年美國共有約1500萬例牙搭橋修復或假牙植入,而同期內種植牙植入量約為500萬顆,種植牙在整個齒科修復的占比約25%。
重點來看看種植牙
先來看種植牙的手術成本拆分:種植體3500~12000元;牙冠烤瓷牙300~1000;全瓷牙1000~2500元;手術費+麻醉費3000~5000元;總費用8000~22000元。
根據美國口腔醫學會數據顯示,目前口腔種植牙手術的平均成功率已達到95%左右,與其他口腔修復術的成功率相當。在僅植入一顆種植體的單顆植入情況下,種植牙手術的成功率可達到97%,在所有口腔修復術中位居第一。
按植牙數量占人口的比例,最高的是以色列和韓國,達到600顆/萬人,我們判斷可能與這些國家的報銷政策有關,例如:韓國從2014年開始,植牙對于部分高端人群也逐漸納入到報銷里。
當然,在其他國家,植牙大多數情況下都是不能報銷的。也可以看到,歐洲國家、巴西、阿根廷等,都有100顆/萬人的滲透率,美國接近這一數據。發達國家里滲透率較低的是日本,大概46顆/萬人。
而中國目前僅7顆/萬人左右,遠遠低于其他國家。原因可能一方面是中國植牙醫生數量仍然太少,另一方面則是對牙齒健康的意識還在逐漸提升的過程中。
影響植牙滲透率的因素:人均可支配收入、國產化、植牙資質醫生數量
植牙滲透率的高低,其實主要取決于兩個因素:人均可支配收入、植牙價格。而植牙價格,我們認為國產化仿制廠家是一個主要原因。另外,有植牙資格的醫師數量,也是決定植牙滲透率的因素。
第一,人均可支配收入與植牙滲透率的關系,可以參考下表。可以明顯看到,如果剔除韓國、以色列、巴西、阿根廷這些國家(這些國家植牙價格較低,韓國甚至醫保覆蓋部分人群,因此,是價格原因使他們的滲透率較高),那么,大體上,人均支配收入較低的國家,植牙滲透率一般也比較低,反之亦然。
另外,參考韓國來看,韓國的植牙量是從2000年左右發展起來的。而2000年時候,韓國的人均可支配收入是9000美元。
中國目前人均可支配收入大約5600美元,但是,在北京、上海、廣州、深圳、杭州等地,人均可支配收入已經在9000美元左右。因此,在我國一二線城市,植牙量正處于快速發展階段。
第二,植牙手術價格也是影響滲透率的核心因素。例如,韓國、以色列、巴西和俄羅斯,植牙手術費用都是相對較低的國家,這些國家的滲透率也顯著高于相同經濟狀況的其他國家。
決定植牙手術價格,我們判斷國產化廠家是一個核心因素。植牙手術最重要的成本是種植體,種植體生產廠家可以劃分為溢價品牌(走高端路線)和低端品牌(走低價路線),種植體前5大企業基本都是瑞士和美國企業。
但是,在韓國、以色列、巴西等植牙滲透率比較高的國家,都有本土的種植體企業,或者是龍頭企業在當地收購的低端品牌。這些本土化產品,增長速度遠遠高于溢價品牌,推動了這些國家植牙價格的下行,也就提升了植牙滲透率。
第三、有植牙資質的醫生數量對滲透率也有影響,主要原因是,買入植牙器械耗材的是牙醫,因此,有植牙資格的牙醫數量增長,就意味著植牙器械耗材的增長。
在韓國,有80%的牙醫有植入資格,在巴西,有植牙資格的牙醫數量是全球最多。
美國只有22%的牙醫有植牙資格,因此,美國和德國雖然人均可支配收入差距不大,但植牙滲透率的差距比較大。
中國只有11%的牙醫有植牙資格,當然,中國并沒有官方頒發的植牙資質認證(做植牙的醫療機構需要牌照),牙醫只要學習,都是能夠掌握植牙手術,所以,我們認為,隨著植牙量的上升,會推動植牙資格的牙醫數量上升,這又反過來推動植牙量的上升。
種植牙市場年復合增速高達56%
由于居民消費能力的增長、有種植牙經驗的合格牙醫數量增加以及學術推廣力度的提高,我國種植牙市場正處于快速發展期。2011年時我國年種植牙顆數僅為12萬顆左右,2013年增長至30萬顆,2016年已超過百萬顆,2017年接近200萬顆,2011~2017年復合增長率達到56%,是全球增長最快的種植牙市場之一。
隨著醫生培訓和患者教育的不斷加強,種植牙的滲透率未來將繼續提高。近年來中國市場已成為齒科企業最重要的業績增量來源,相關國內外企業紛紛加強在國內的學術推廣力度,極大的提高了種植牙在普通患者中的普及程度。
牙科醫生資源的不足也是限制我國種植牙市場發展的重要原因,通過口腔醫師協會和齒科企業的合作培訓、海外醫生引進等手段,情況有望大幅改善。預計未來幾年內,種植牙市場仍將保持30%以上的較快增速。
保守估計,植牙的潛在存量市場需求達到4000億元
據第四次全國口腔流行病學調查結果,在35~44歲的中青年人群中,缺牙率大約為36.4%,平均牙量為每人29顆,缺牙已修復比例82.8%;65歲~74歲老人當中,86%存在牙缺失,全口無牙的比例為4.5%,平均牙量22顆,缺牙已修復比例為63.2%。
我們非常保守地估計城市中年缺牙群體的種植牙滲透率20%,農村中年群體的滲透率5%,老年人群的滲透率0.1%,那么按照我國最新的人口數據,則種植牙市場的潛在存量需求數量約為4000萬顆,理論存量市場需求金額達到4000億元以上。
我們測算,到2025年,全國種植牙數量1450萬顆,即約每萬人100顆,與其他國家相比,也就與現在的美國差不多,低于現在的多數歐洲國家,也低于現在的巴西、阿根廷等南美國家,因此,我們認為預測結果處于合理范圍內。
種植體是種植牙核心耗材
種植牙手術的主要耗材包括種植體、種植基臺、牙冠、修復材料。種植體是植入牙槽骨中,為整個種植系統提供支持、固位作用,是種植牙的核心部件。
種植基臺是種植體裸露在牙床黏膜外的部分,主要功能為連接、固定安裝在其之上的牙冠,牙冠即我們日常所說的“假牙”、“義齒”。修復材料一般包括口腔修復膜和骨粉,用于創口修復,二者既可聯合使用,也可單用口腔修復膜,視患者的頜骨缺損情況而定。
全球種植體和假牙市場規模在2017年達到89.8億美元,預計未來6年復合增速6.5%,2023年達到130.1億美元。全球主要種植體企業包括瑞士Straumann,美國DENTSPLY,美國ZimmerBiomet,美國Danaher(收購瑞典Nobel種植牙),西班牙AVINENTImplantSystem,美國HenrySchein,韓國Osstem,韓國DIO,德國Merz,美國BICON,日本ShofuDental,瑞士ThommenMecial和南非SouthernImplant等。
種植體的價格是決定種植牙成本的最重要因素。我們對口腔醫療機構的種植牙價格進行了調研,目前市場上單顆牙種植的總體費用約為8000-22000元,收費項目主要包括種植體、種植基臺、牙冠、修復材料和手術費用。種植體依據材質、工藝和來源,價格在一顆3500元至12000元左右。
種植基臺的價格一般在1500元以上。目前主流的全烤瓷牙冠一顆的價格約為2500元。修復材料方面瑞士蓋氏的Bio-Gide修復膜和Bio-Oss骨粉的組合價格在2500元以上,國產代表正海生物的海奧口腔膜和骨粉的組合價格約為1000-1500元。
國產種植體替代進口的空間非常大
進口種植體在國內占有率超過90%。目前我國口腔醫療機構所使用的人工種植牙系統基本全部為外資占據,我們估計外資在國內的占有率超過90%。進口產品價格昂貴也是種植牙成本居高不下,市場開發難以進一步加快的主要原因。
我們判斷,國產種植體占有率不高的原因:
第一,在技術上,國產和進口的表面處理工藝可能存在一定差別,但參考關節骨科等耗材,我們認為國產的表面處理技術追上進口的難度并不大;
第二,目前多數植牙患者的收入水平較高,而且患者和醫生都較為迷信進口產品,特別是對于需要長期留在體內的種植體耗材,不少患者更愿意多花幾千元而使用進口材料;
第三,即使面對價格敏感的人群,一些韓國種植牙系統的價格也不高,使國產的價格優勢不明顯。
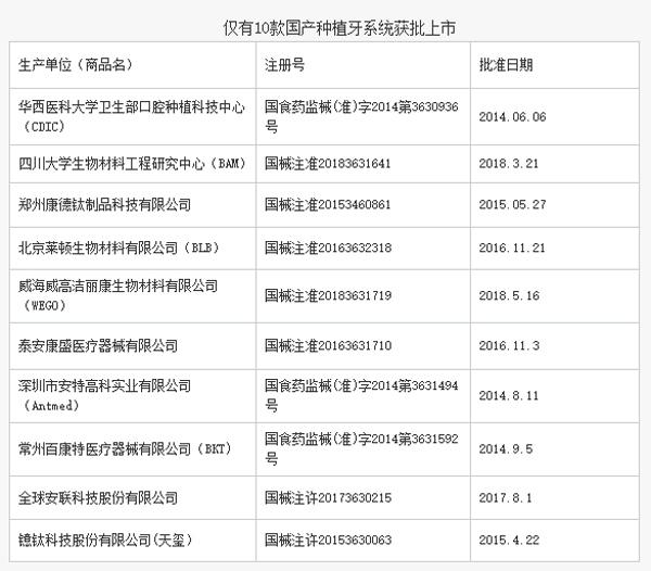
目前我國共有10款國產種植系統獲批上市,其中安聯和天璽來自中國臺灣地區。大陸地區的8款牙科種植系統中,僅有華西的CDIC和萊頓的BLB被業界公認為達到了國際水平,但CDIC主要供華西口腔醫院自用,在其他醫療機構中使用比例較低;萊頓的BLB定位于中低端,其高端產品線實際是代理的意大利B&B系統。

口腔修復膜與骨修復材料,進口替代空間較大
口腔修復膜屬于生物再生材料,在口腔科臨床治療中主要用于口腔內軟組織淺層缺損的修復和腮腺手術中預防味覺出汗(Frey’s)綜合征,系采用組織工程學技術,對動物源性的特定組織和器官進行脫細胞、病毒及病原體滅活等一系列處理后,得到具有天然組織空間結構的支架材料。
口腔修復膜要求具有良好的組織相容性,無免疫排斥反應,在修復病變組織或器官功能的同時,能夠誘導組織再生,目前在口腔醫療中已得到廣泛應用,尤其是在種植牙領域,另外在頜面外科手術中也得到一定應用。
口腔修復膜可以與骨粉等骨修復材料合用,用于口腔手術后牙頜骨缺損(或骨量不足)的填充和修復,可使種植體更好得與周邊牙槽骨質結合,提升創口恢復效果。
由于口腔修復膜與骨修復材料主要應用在種植牙領域,因此其市場規模與我國的種植牙市場直接相關。2017年我國種植牙數量接近200萬顆,按照理論上每顆種植牙需使用一張口腔修復膜和一份骨修復材料(骨粉)的標準,以目前一臺種植牙手術中膜+骨粉平均2000元的價格水平進行測算,則口腔修復材料在種植牙領域的終端市場的理論規模可達到40億元。
由于口腔修復膜和骨修復材料的終端價格基本在1:1到1.5:1的水平,我們認為目前口腔修復膜在種植牙領域的市場空間在20-30億元之間,骨修復材料最多約為10億元。
口腔修復材料在手術成本中的占比不大,如果均采用中值進行測算,則目前一臺種植牙手術的費用為15000元,其中包括6800元左右的種植體,1800元的基臺,2500元的牙冠,1500元的修復材料,其余2400元則為手術及設備費用。
修復材料在種植牙手術中的成本占比最小,醫療機構和患者對其價格的敏感程度相對較低。目前醫療機構針對患者的降價優惠主要集中在植種植體和手術費用上,患者也主要關注這方面的收費情況,修復材料的降價壓力較小。
目前國內口腔修復材料市場較為集中,外資占據絕對優勢,瑞士企業蓋氏一家獨大,獨享約70%的市場份額。國內企業中正海生物名列第一,市場份額在10%左右。另外20%的市場相當分散,除了其它的正規獲批產品外,還存在大量的通過其它途徑進入我國的品牌,主要在個體私人診所中使用。
蓋氏等外資企業進入我國市場的時間較早,具備先發優勢,且具有良好口碑。但近年來以正海生物為代表的國產企業逐漸成熟,市場占比快速上升,且在產品質量上已無顯著差距,同時價格僅為蓋氏的二分之一左右,未來進口替代的空間十分龐大。
口腔CBCT快速增長
口腔CT是圍繞人體的一段容積螺旋式地采集數據,它可以從三維角度對組織情況進行反映,可以發現口腔X光片的投照角度不能發現的、或者更細微的病變;它的三維重建效果能夠對骨組織情況、下頜關節情況進行準確評價,協助醫生進行手術前方案設計,以及術后科學評價。
CBCT(ConebeamCT),即錐形束CT,其原理是X射線發生器以較低的射線量圍繞投照體做環形數字式投照,經過數百次多次數字投照后,所獲得的數據在計算機中,重組后獲得三維圖像。CBCT與傳統CT的最大區別在于CBCT用三維錐形束X線掃描,而傳統CT用二維扇形束掃描。
與傳統CT相比CBCT主要具有以下優點:
(1)輻射量低:傳統CT的有效放射劑量大概在2000uSv,而CBCT放射劑量范圍在29uSv-477uSv之間,減少患者收到的輻射。
(2)數據采集時間短:單次掃描時間一般為10-50秒,遠低于傳統CT,降低了患者輻射暴露時間和掃描時運動產生的偽影。
(3)便捷適用:CBCT占地面積較小,價格僅相當于傳統CT的20%-50%,有利于普通牙科診所購置。
與其他影像診斷設備市場相似,我國的口腔CT主要市場份額長期以來被卡瓦、西諾德等進口品牌占據。受益于口腔醫療行業的快速發展,我國口腔CT的市場規模近年來呈爆發式增長局面。國產企業積極把握市場機遇,紛紛涉足口腔CT的研發制造。目前共有十款國產CBCT產品獲CFDA批準上市,上市時間多集中在2014、2016兩年。
口腔CT在牙科CT成像軟件(dentalCTprogram,DCT)的幫助下,可重建獲得頜-口腔全景圖像和各方位斷層圖像,圖像清晰直觀,已被成功用于種植牙術前測量、口腔炎癥、腫瘤和口腔上頜竇瘺等多種疾病的診斷。

CBCT主要應用包括以下幾方面,基本覆蓋了口腔醫學各主要領域,受益于齒科整體的高增長態勢,市場需求旺盛:
(1)牙體牙髓科:CBCT在牙體牙髓病科治療中,對牙根周圍的解剖關系、炎癥病變、囊腫等能輕而易舉的進行診斷。
(2)牙槽骨外科:CBCT在牙槽骨外科手術中通過立體影像可以全面了解牙齒周圍的解剖結構,使醫師進行手術時有的放矢,采用更安全的方法,避免傷害牙神經。
(3)口腔種植科:CBCT能為口腔種植提供精確的三維影像,顯示頜骨的骨質、骨量及下頜神經管、上頜竇等組織結構。CBCT在成像立體圖像上設計最佳手術方案,制作種植手術導板,從而將種植體的理想位置轉移至患者頜骨內,大大降低了種植手術風險。
(4)頜骨正畸科:傳統的二維平片存在一定的局限性,如顱面結構疊加失真,使顱、頜面各標志點的定位上存在一定的誤差,而CBCT提供三維結構,各切面的數據重建可還原顱頜面的結構。
我國口腔醫療經營機構主要包括公立和民營兩大類型,公立口腔醫院特點是資源優勢較大,對患者形成了較強的虹吸作用,但是服務不夠豐富;而民營口腔醫院及診所相比公立醫院的優勢是專業化的細致服務和個人品牌效應,因此發展速度很快。
民營口腔醫院及診所數量龐大,增速較快,是驅動口腔診療產業的主要力量,也是公司CBCT主要的銷售渠道。
以口腔醫院為例,根據國家衛計委的數據,2015年我國口腔醫院501家,其中民營口腔醫院332家,占比66%,在覆蓋范圍上民營口腔醫院更為廣泛。
從增速來看,公立口腔醫院布局較為穩定,增長空間很小;而民營口腔醫院適應市場需求,保持快速增長,2010-2015年復合增速達到18.85%。
除了民營口腔醫院,還有數量更為龐大的私立口腔診所,2016年我國私立口腔診所8萬家左右,目前約10萬家,為CBCT提供了充足的市場空間。
從產品滲透率方面看,資料顯示臺灣地區有6000多家民營口腔診所,其中2000-2500家配有CBCT,滲透率30%-40%;我國CBCT目前保有量保守估計超過5000臺,樂觀估計為10000臺左右,以8萬家口腔醫療機構的數據來看滲透率約為7%—15%,相比于臺灣仍有較大提升空間。
當下,國內CBCT市場已經度過“爆發前夜”的狀態,市場教育、培育階段已經基本完成,即將正式進入爆發式放量階段,可以預期CBCT滲透率將有較大的上升空間。
根據《2016-2022年中國醫學影像設備市場動向調研及十三五發展態勢預測報告》中的數據進行測算,2017年我國口腔醫療機構數量約為10萬家,滲透率在10%左右,那么按照一臺口腔CT均價30萬元計算,則對應市場空間已達到30億元。
如果2022年我國口腔醫療機構數量達到15萬家,滲透率達到20%-25%的理想水平,則相應市場增量空間為60億—82.5億元。
幾家牛氣公司
正海生物,是國產口腔修復膜代表企業。目前國內種植牙市場龍頭為外資企業蓋氏,占據超過70%的國內市場,正海生物約占比10%,在國內企業中處于領先地位,且在價格上相比進口產品有較強的競爭優勢,未來進口替代的空間廣大。
通策醫療,截至2017年底,公司已經擁有各類連鎖口腔醫院達到23家,牙床數量達到1411張,醫護人員達到1944人,其中醫學博士16人,醫學碩士311人。
美亞光電,口腔CT主要企業。過去我國CBCT設備主要依賴進口,美亞光電(公司)是首家自主研制成功CBCT的國內廠商,公司2012年開始獲得口腔CT(口腔X射線CT診斷機)批文并開始將設備推向市場。現在公司擁有中視野/中大視野口腔CBCT、臻(series)中大視野口腔CBCT、超大視野口腔CBCT三款產品。
【來源:招商證券 】

相關閱讀
- 2020年中國醫學裝備行業市場規模將突破8000億2018-10-08
 - 醫用耗材“頭部公司”時代和“升維打擊”已經到來!2018-07-05
 - 醫械巨頭哪家強 研發投入和市場份額大比拼2016-10-31
 - 國務院送利好 7000億的醫械細分市場將產生2016-10-28
 - 國產醫療器械迎政策利好 銷售類人才需求漲12%2016-10-13
 






