防止熱灼傷的高頻電刀設計要求1
發布時間:2012/12/11 14:39:26
中性電極在高頻時與地隔離
無論在高頻還是在低頻下,患者電路均對地絕緣,并且這種絕緣在進行下述試驗時,每一個電極經200Ω無感電阻流向地的高頻漏電流不應超過150mA。
用下述試驗來檢驗是否符合要求:
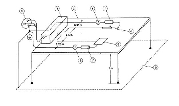
高頻手術設備如19.3.101 a)1)試驗1所述布置,輸出不加載或加額定負載。
Ⅱ類和內部電源供電的高頻手術設備的任何金屬外殼應接地。具有絕緣外殼的高頻手術設備在進行該試驗(參見圖106)時,應放在面積至少應等于設備底板的接地金屬(板)上。在高頻手術設備每一個高頻手術模式最大輸出設定下依次測量每一個電極的高頻漏電流。
注:以上要求不適用于額定輸出功率不超過50W且預期不帶中性電極使用的高頻手術設備。
圖例:

①網電源 ②絕緣材料制作的臺板 ③高頻手術設備 ④手術電極
⑤中性電極,金屬或與金屬箔接觸的同尺寸金屬 ⑦測試電阻200Ω
⑧高頻電流表 ⑨接地的導電平面
圖106—高頻下中性電極與地絕緣時測量高頻漏電流(

上一篇:防止熱灼傷的高頻電刀設計要求
下一篇:宮腔鏡手術對醫生的要求
相關閱讀
- 國家藥監局:多家高頻電刀企業檢驗不合格2020-07-29
- 韓國進口婦科利普刀,高頻電刀全國獨家火熱招商中2017-06-19
- “十百千萬工程”推進國產醫療器械應用2015-05-14
- 高頻電刀對人體的效應2013-02-01
- 高頻電刀的兩種工作模式2013-02-01






